第一章:应力分析
约 1618 字大约 5 分钟
2026-01-28
1 应力概念
1.1 外力与内力
外力:作用于物体表面或贯穿体积的载荷,分为:
体力(体积力):作用于物体内部单位体积上的力(如重力、惯性力、电磁力),记为
f=ΔV→0limΔVΔF,fi=ΔV→0limΔVΔFi
面力(表面力):作用于物体表面单位面积上的力(如液体压力、接触力),记为
p=ΔS→0limΔSΔG,pi=ΔS→0limΔSΔGi
内力:外力引起物体变形,破坏分子平衡,从而在物体内部产生抵抗变形的附加相互作用力场,称为附加内力场。
1.2 应力的定义
考虑物体内一点 P,取任意法向为 ν=νiei 的截面微元 ΔS,该截面一侧物体对另一侧物体的作用合力为 ΔF,则定义应力矢量为:
Tν=ΔS→0limΔSΔF
注
应力是单位面积上的附加内力,是描述连续介质内部受力状态的基本物理量。
2 应力表示
2.1 应力张量
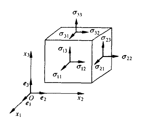
取笛卡儿坐标系,围绕点 P 作六面微元体。

在三个正面(外法线方向为 e1,e2,e3)上分解应力矢量:
Te1Te2Te3=σ11e1+σ12e2+σ13e3=σ1jej=σ21e1+σ22e2+σ23e3=σ2jej=σ31e1+σ32e2+σ33e3=σ3jej
由此定义 9 个应力分量,组成应力张量:
[σ]=σ11σ21σ31σ12σ22σ32σ13σ23σ33
- 第一下标 i:作用面法线方向(面元指标)
- 第二下标 j:应力投影方向(方向指标)
- 正应力(法向应力):σii
- 剪应力(切向应力):σij(i=j)
2.2 正负号约定
- 正面(法向与坐标轴同向):应力分量与坐标轴正向一致为正
- 负面(法向与坐标轴反向):应力分量与坐标轴反向为正
注
此约定主要是为了满足拉为正、压为负且使得数学处理统一简洁。
3 应力性质
3.1 剪应力互等定理
σij=σji[σ]T=[σ]
3.2 应力的坐标变换(张量性质)
设新旧坐标系方向余弦为 αmi=cos(xm′,xi),应力分量满足二阶张量分量变换律:
σmn′=αmiαnjσij
矩阵形式为:
[σ′]=[α][σ][α]T
基于这种变换关系,我们可以得到某一点处任一方向上的应力:
Tn^=σ⋅n^
因此一个点的应力状态可以由应力张量完全表示。
4 主应力
4.1 定义
主平面:仅含正应力、剪应力为零的平面。
主方向:主平面法向 v,应满足
[σ]v=λv
其中 λ 为一常数(特征值),通常用 σ1,σ2,σ3 表示。
- 主应力:主方向上的(正)应力大小。
注
可通过解特征方程求得主方向和主应力大小,细节参考线性代数。
4.2 应力不变量
与坐标系无关的三个标量:
I1I2I3=σ11+σ22+σ33=σkk=tr([σ])=σ11σ22+σ22σ33+σ33σ11−(σ122+σ232+σ312)=det([σ])
4.3 主应力性质
- 存在性:对称实矩阵必定存在特征值。
- 正交性:不同主应力对应主方向相互正交,重根时可在对应平面任选正交主方向。
4.4 主坐标系简化
在主方向为坐标轴的坐标系中,应力张量对角化:
[σ]=σ1000σ2000σ3
不变量简化为:
I1=σ1+σ2+σ3,I2=σ1σ2+σ2σ3+σ3σ1,I3=σ1σ2σ3
5 莫尔圆
5.1 二维莫尔圆
二维情形下的正应力大小 σ 和剪应力大小 τ 满足以下关系:
(σ−2σ1+σ2)2+τ2=(2σ1−σ2)2
其中 σ1≥σ2 ,为主应力大小。

规定莫尔圆中剪应力 τ 以顺时针方向为正,由此将某一点的应力状态投射到了一个圆上。每一个法向上的正应力和剪应力大小就对应莫尔圆上的一个 (σ,τ) 坐标,法向逆时针旋转 α ,对应莫尔圆上的点逆时针旋转 2α。
5.2 三维莫尔圆
取主轴坐标系,定义法向 n^=(n1,n2,n3),可推出以下三个方程:
(σ−2σ2+σ3)2+τ2=(2σ2−σ3)2+n12(σ1−σ2)(σ1−σ3)(σ−2σ3+σ1)2+τ2=(2σ1−σ3)2+n22(σ2−σ1)(σ2−σ3)(σ−2σ1+σ2)2+τ2=(2σ1−σ2)2+n32(σ3−σ1)(σ3−σ2)
其中 σ1≥σ2≥σ3 ,为主应力大小。
绘制三个主平面对应的二维莫尔圆:
- 圆 C1(σ2–σ3 平面):圆心 (2σ2+σ3,0),半径 R1=2σ2−σ3
- 圆 C2(σ1–σ3 平面):圆心 (2σ1+σ3,0),半径 R2=2σ1−σ3
- 圆 C3(σ1–σ2 平面):圆心 (2σ1+σ2,0),半径 R3=2σ1−σ2

任意截面上的 (σ,τ) 必落在三圆围成的阴影区内。
提示
若想加深对莫尔圆的理解,也可尝试 Python 工具包 mohrpy,它能帮助你计算相关应力状态并可视化莫尔圆。
6 平衡微分方程
考虑微元体 dx1dx2dx3 的力平衡,可得平衡微分方程:
∂x1∂σ11+∂x2∂σ12+∂x3∂σ13+f1=0∂x1∂σ21+∂x2∂σ22+∂x3∂σ23+f2=0∂x1∂σ31+∂x2∂σ32+∂x3∂σ33+f3=0
分量形式:
σij,j+fi=0
张量形式:
∇⋅σ+f=0
引入惯性体力可得运动微分方程:
∇⋅σ+f=ρu¨